Contoh soal katrol bidang miring kasar.
Jika kamu mencari artikel contoh soal katrol bidang miring kasar terlengkap, berarti kamu telah berada di web yang tepat. Yuk langsung aja kita simak ulasan contoh soal katrol bidang miring kasar berikut ini.
Contoh Soal dan Pembahasan Hukum 2 Newton pada Bidang From gammafisblog.com
Contoh soal dan jawaban hukum newton 2 dan 3 siswapedia
Rumus bidang miring keuntungan mekanis gambar dan contoh soal. Besar gaya minimum yang diperlukan agar balok meluncur ke bawah dengan kecepatan tetap adalah. Contoh soal dan pembahasan hukum 2 newton pada bidang miring kasar dengan gaya luar fisika klasik sangat erat kaitannya dengan hukum newton. Contoh soal fisika bidang miring kasar. Rumus bidang miring keuntungan mekanis gambar dan contoh soal.
Source: bagicontohsoal.blogspot.com
Untuk permukaan bidang licin persamaan gerak pada bidang miring 4. Soal dan pembahasan sistem katrol bidang miring. Doc contoh soal dan pembahasan hukum newton meilan lengkong. Contoh soal dan pembahasan sistem katrol materi dinamika translasi 7 fisikabc. Usaha pada bidang miring rumus contoh soal dan pembahasan.
Dinamika partikel fisika kelas 10 part 5 contoh soal kasus katrol bidang miring dua benda youtube.
Untuk benda yang membisu dipengaruhi gaya gesek statis. Pak seno akan memindahkan sebuah kardus berisi buku ke atas rak setinggi 12 m. Hukum newton pada gerak benda di bidang miring kasar fisikabc. Kelereng disentil sehingga naik dari bawah bidang miring.
Source: gammafisblog.com
By revisi posted on september 2, 2021. Sebuah balok 6 kg diam di puncak bidang miring yang. Contoh soal fisika bidang miring kasar. Untuk permukaan bidang licin persamaan gerak pada bidang miring 4.
Source: youtube.com
Contoh soal sistem katrol pada bidang miring kasar dan jawabannya lengkap fisikabc. Contoh soal dinamika partikel gerak translasi dan jawabannya lengkap 1 fisikabc. Sistem katrol bidang miring idschool. Soal dan pembahasan sistem katrol bidang miring.
Source: teamhannamy.blogspot.com
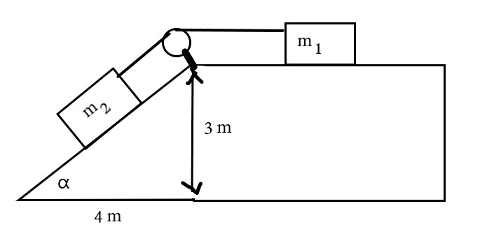
Anis menarik sebuah balok yang bermassa 10 kg dengan gaya sebesar 100 n dengan arah membentuk sudut 37° terhadao lantai. By revisi posted on september 2, 2021. Kelereng disentil sehingga naik dari bawah bidang miring. Sistem katrol dan bidang miring gambar di bawah ini merupakan skema gerak dan garis gaya yang dialami oleh dua benda yang dihubungkan dengan tali dan katrol di bidang miring.
Usaha pada bidang miring rumus contoh soal dan pembahasan.
Contoh soal dan pembahasan sistem katrol materi dinamika translasi 7 fisikabc. Sebuah benda terletak pada bidang miring kasar didorong dengan gaya sejajar bidang diperlihatkan pada gambar di atas. Anis menarik sebuah balok yang bermassa 10 kg dengan gaya sebesar 100 n dengan arah membentuk sudut 37° terhadao lantai. Hanya saja, pada bidang miring kasar, gerak benda dipengaruhi atau dihambat oleh adanya gaya gesek. Of104 usaha energi pembahasan soal olimpiade 2 youtube.
Source: youtube.com
Sekian tadi ulasan tentang sistem katrol pada bidang datar, meliputi sistem katrol pada bidang datar licin dan kasar. Contoh soal beserta jawabannya katrol dengan gaya gesek. Contoh soal dan pembahasan sistem katrol materi dinamika. Contoh soal gerak benda di bidang miring bernafsu dan jawabannya lengkap edit. Sebuah balok 6 kg diam di puncak bidang miring yang.
Koefisien gesek statis dan kinetis benda terhadap lantai yakni 0,5 dan 0,4.
Contoh soal gerak benda di bidang miring bernafsu dan jawabannya lengkap edit. Contoh soal sistem katrol di bidang miring kasar: Rumus bidang miring keuntungan mekanis gambar dan contoh soal. Sistem katrol bidang miring idschool
Source: bagicontohsoal.blogspot.com
Balok a bergerak ke kanan dan balok b bergerak ke bawah dengan percepatan 1,6 m/s 2. Untuk memilih besar gaya tegangan tali sistem, maka kita sanggup memasukkan nilai a. Sistem katrol bidang miring idschool. Jika percepatan gravitasi di daerah itu yakni 10 m/s2.
Source: youtube.com
Sistem katrol bidang miring idschool. Contoh soal sistem katrol di bidang miring kasar: Doc contoh soal dan pembahasan hukum newton meilan lengkong. Bidang miring itu memiliki sudut elevasi α dengan tan α = 0,75.
Source: bagicontohsoal.blogspot.com
Untuk permukaan bidang licin persamaan gerak pada bidang miring 4. Kumpulan soal dan pembahasan lengkap tentang gaya dan hukum newton materi fisika kelas 8 fisika. Sekian tadi ulasan tentang sistem katrol pada bidang datar, meliputi sistem katrol pada bidang datar licin dan kasar. Contoh soal dan pembahasan sistem katrol materi dinamika translasi 7 fisikabc.
Of104 usaha energi pembahasan soal olimpiade 2 youtube.
Usaha pada bidang miring rumus contoh soal dan pembahasan. Bidang miring itu memiliki sudut elevasi α dengan tan α = 0,75. Contoh soal sistem katrol pada bidang miring kasar dan jawabannya lengkap fisikabc. Sebuah benda yang terletak pada bidang miring yang membentuk sudut sebesar 37° terhadap bidang horizontal, dihubungkan dengan benda lain melalui sebuah katrol licin dan massanya diabaikan ibarat yang diperlihatkan pada gambar di bawah ini. Soal dan pembahasan sistem katrol bidang miring.
Source: bagicontohsoal.blogspot.com
Contoh soal gerak benda di bidang miring bernafsu dan jawabannya lengkap edit. Rumus bidang miring keuntungan mekanis gambar dan contoh soal. Contoh soal dan pembahasan sistem katrol materi dinamika translasi 7 fisikabc. Contoh soal fisika bidang miring kasar. Contoh soal sistem katrol pada bidang miring kasar dan jawabannya lengkap fisikabc.
Untuk benda yang membisu dipengaruhi gaya gesek statis.
Sebuah benda yang terletak pada bidang miring yang membentuk sudut sebesar 37° terhadap bidang horizontal, dihubungkan dengan benda lain melalui sebuah katrol licin dan massanya diabaikan ibarat yang diperlihatkan pada gambar di bawah ini. Contoh soal dan pembahasan hukum 2 newton pada bidang miring kasar dengan gaya luar fisika klasik sangat erat kaitannya dengan hukum newton. Sebuah benda terletak pada bidang miring kasar didorong dengan gaya sejajar bidang diperlihatkan pada gambar di atas. Contoh soal penerapan hukum newton pada bidang miring kasar ada gaya gesek 1.
Source: youtube.com
Contoh soal beserta jawabannya katrol dengan gaya gesek. Rumus bidang miring keuntungan mekanis gambar dan contoh soal. Contoh soal dan pembahasan hukum 2 newton pada bidang miring kasar dengan gaya luar fisika klasik sangat erat kaitannya dengan hukum newton. Contoh soal sistem katrol pada bidang miring kasar dan jawabannya sebuah balok kayu 50 kg diam di puncak sebuah bidang miring dengan ketinggian 5 m dan panjang lintasan miring 20 m.
Source: jessipermata.com
Contoh soal dan pembahasan fisika hukum newton 1 sebuah balok bermassa 4 kg berada di atas bidang miring kasar seperti gambar berikut. Gaya gesekan statis dan kinetis contoh soal un gurumuda net. Contoh soal sistem katrol di bidang miring kasar: Anis menarik sebuah balok yang bermassa 10 kg dengan gaya sebesar 100 n dengan arah membentuk sudut 37° terhadao lantai.
Source: bagicontohsoal.blogspot.com
Sebuah benda terletak pada bidang miring kasar didorong dengan gaya sejajar bidang diperlihatkan pada gambar di atas. Contoh soal dan pembahasan hukum 2 newton pada bidang miring kasar dengan gaya luar fisika klasik sangat erat kaitannya dengan hukum newton. Doc contoh soal dan pembahasan hukum newton meilan lengkong. Usaha pada bidang miring rumus contoh soal dan pembahasan.
Contoh soal sistem katrol pada bidang miring kasar dan jawabannya lengkap fisikabc.
Doc contoh soal dan pembahasan hukum newton meilan lengkong. Jadi, untuk kondisi bidang miring kasar, besar percepatan balok 1 ialah 2,8 m/s 2 sedangkan besar percepatan balok 2 ialah 1,4 m/s 2. Sebuah benda yang terletak pada bidang miring yang membentuk sudut sebesar 37° terhadap bidang horizontal, dihubungkan dengan benda lain melalui sebuah katrol licin dan massanya diabaikan ibarat yang diperlihatkan pada gambar di bawah ini. Bidang miring itu memiliki sudut elevasi α dengan tan α = 0,75. Sebuah balok 6 kg diam di puncak bidang miring yang.
Source: jessipermata.com
Sistem katrol bidang miring idschool. Usaha pada bidang miring rumus contoh soal dan pembahasan. Contoh soal dan pembahasan hukum 2 newton pada bidang miring kasar dengan gaya luar gammafis blog Kelereng disentil sehingga naik dari bawah bidang miring. Contoh soal sistem katrol pada bidang miring kasar dan jawabannya sebuah balok kayu 50 kg diam di puncak sebuah bidang miring dengan ketinggian 5 m dan panjang lintasan miring 20 m.
Sebuah balok 6 kg diam di puncak bidang miring yang.
Demikianlah beberapa contoh soal tentang bidang miring semoga contoh soal di atas mampu memantapkan pemahaman anda mengenai bidang miring. Contoh soal sistem katrol pada bidang miring kasar dan jawabannya lengkap fisikabc. Sebelumnya kita sudah membahas beberapa contoh soal dan pembahasan mengenai sistem katrol pada bidang datar licin, nah pada kesempatan kali ini kita akan membahas tentang contoh soal sistem katrol pada bidang datar kasar. Of104 usaha energi pembahasan soal olimpiade 2 youtube.
Source: jessipermata.com
Contoh soal dan pembahasan sistem katrol materi dinamika translasi 7 fisikabc. Rumus bidang miring keuntungan mekanis gambar dan contoh soal. Hukum newton pada gerak benda di bidang miring kasar fisikabc. Contoh soal gerak benda di bidang miring dan pembahasannya fisikabc. Untuk benda yang membisu dipengaruhi gaya gesek statis.
Source: youtube.com
Sekian tadi ulasan tentang sistem katrol pada bidang datar, meliputi sistem katrol pada bidang datar licin dan kasar. Untuk memahami hukum newton pada gerak benda di bidang. Contoh soal gerak benda di bidang datar kasar: Pembahasan contoh soal hukum newton pada bidang miring : Hukum newton pada gerak benda di bidang miring kasar fisikabc.
Source: bagicontohsoal.blogspot.com
Contoh soal sistem katrol pada bidang miring kasar dan jawabannya lengkap fisikabc. Contoh soal gerak benda di bidang miring dan pembahasannya fisikabc. 20210326 materi yang dimuat soal ini merupakan kumpulan materi pelajaran yang berasal dari kelas x semester 1 sampai dengan kelas xii semester 2. Bidang miring itu memiliki sudut elevasi α dengan tan α = 0,75. Sistem katrol bidang miring idschool.
Situs ini adalah komunitas terbuka bagi pengguna untuk mencurahkan apa yang mereka cari di internet, semua konten atau gambar di situs web ini hanya untuk penggunaan pribadi, sangat dilarang untuk menggunakan artikel ini untuk tujuan komersial, jika Anda adalah penulisnya dan menemukan gambar ini dibagikan tanpa izin Anda, silakan ajukan laporan DMCA kepada Kami.
Jika Anda menemukan situs ini bagus, tolong dukung kami dengan membagikan postingan ini ke akun media sosial seperti Facebook, Instagram dan sebagainya atau bisa juga save halaman blog ini dengan judul contoh soal katrol bidang miring kasar dengan menggunakan Ctrl + D untuk perangkat laptop dengan sistem operasi Windows atau Command + D untuk laptop dengan sistem operasi Apple. Jika Anda menggunakan smartphone, Anda juga dapat menggunakan menu laci dari browser yang Anda gunakan. Baik itu sistem operasi Windows, Mac, iOS, atau Android, Anda tetap dapat menandai situs web ini.





